الفيزياء 11 فصل ثاني

الحادي عشر خطة جديدة

icon

حل أسئلة الدرس الأول لجيل 2008 خطة جديدة

السؤال الأول

الفكرة الرئيسية:

اذكر نص قانون كولوم وأمثلة بمعادلة رياضية:

    • نص قانون كولوم: "تتناسب القوة الكهربائية المتبادلة بين شحنتين كهربائيتين طرديًا مع حاصل ضرب مقدار الشحنتين، وعكسيًا مع مربع المسافة بينهما."
    • المعادلة الرياضية:

F=kq1q2r2

السؤال الثاني

فسر سبب انجذاب قصاصات الورق نحو مسطرة بلاستيكية ملامسة للشعر؟

    • عندما تُفرك المسطرة بالشعر، تكتسب المسطرة شحنة كهربائية بسبب انتقال الإلكترونات من الشعر إلى المسطرة (أو العكس)، مما يجعل المسطرة مشحونة. الشحنة المتراكمة على المسطرة تجذب قصاصات الورق التي تحمل شحنات مختلفة.ماذا يحدث عند تلامسها؟عند ملامسة المسطرة للقصاصات، قد تنتقل بعض الشحنات إلى القصاصات، فتفقد المسطرة قدرتها على جذبها.

 

السؤال الثالث

استخدام الأرقام:

    • لحساب عدد الإلكترونات الناقصة للوصول إلى
    • 20° مئوية:

q=ne

q=10-8C  , e=1.6×10-19C

n=qe=10-81.6×10-19=6.25×1010 إلكترون

السؤال الرابع

أ- فسّر سبب ابتعاد الكرة وتنافرها مع القضيب الفلزي؟

  • عند ملامسة الكرة الصغيرة للقضيب الفلزي المشحون، تنتقل بعض الشحنات من القضيب إلى الكرة، مما يجعل كل منهما يحمل شحنات من نفس النوع (إما موجبة أو سالبة). ووفقًا لقانون التنافر الكهربائي، فإن الشحنات المتشابهة تتنافر، ولهذا السبب تبتعد الكرة عن القضيب.

​​​​​​​

ب- أتوقع: ماذا يحدث عند تكرار التجربة بوضع قضيب بلاستيكي بدلًا من القضيب الفلزي؟

  • إذا تم استخدام قضيب بلاستيكي بدلاً من القضيب الفلزي:
    1. لن يحدث انتقال للشحنات بسهولة لأن البلاستيك مادة عازلة، ولا يسمح بمرور الشحنات الكهربائية.
    2. لن تحمل الكرة شحنة كهربائية مشابهة للقضيب البلاستيكي، وبالتالي لن يحدث تنافر كما هو الحال مع القضيب الفلزي.

السؤال الخامس

احسب مقدار القوة الكهربائية بين شحنتين:

  • معطى:

​​​​​​​q1=q2=2μC=2×10-6C

r=0.5m.

F=kq1q2r2=9×109×2×10-6×2×10-6(0.5)2=0.144N


السؤال السادس

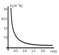
أ) أحدد المتغير المستقل والمتغير التابع في التجربة.

• المتغير المستقل: المسافة بين الشحنتين (r) لأنها يتم تغييرها في التجربة.

• المتغير التابع: القوة الكهربائية (F) لأنها تعتمد على المسافة بين الشحنتين.

 

ب) أمثل البيانات بالرسم البياني، فأمثل المسافة على محور (x) والقوة على محور (y).

• الرسم البياني:

• المحور السيني (2): يمثل المسافة (r) بالمتر.

• المحور الصادي (y): يمثل القوة (F) بالنيوتن.

• نقاط البيانات:

ارسم النقاط وحدد المنحنى، والذي سيكون تناقصيًا (علاقة عكسية مربعة).


ج) أستنتج العلاقة بين القوة والمقدار 1r2؟ ماذا يعني ميل هذه العلاقة؟

1. نحسب 1r2 لكل قيمة من المسافة:

• عند r=2  ؛  1r2=122=0.25

• عند r=1.5  ؛ 1r2=1(1.5)2=0.444

• عند r=1  ؛ 1r2=112=1

• عند r=0.5  ؛ 1r2=1(0.5)2=4

 

2. العلاقة بين F و 1r2

القوة الكهربائية (F) تتناسب طردتا مع 1r2

أي 1r2F

 

3. ميل العلاقة يمثل الشحنة الموجبة للشحنتين والوسط الذي يجمعهما، ويتبع قانون كولوم.

 

د) أصدر حكمًا: هل تخضع هذه النتائج لقانون كولوم بدقة؟ أفسر إجابتي.

• نعم، النتائج تخضع لقانون كولوم، لأن العلاقة بين القوة الكهربائية والمسافة تظهر تناسبا عكسيا مع مربع

المسافة، كما ينص قانون كولوم: F=kq1q2r2

التفسير: زيادة المسافة تقلل القوة بمقدار مربع المسافة، مما يتوافق مع النتائج التجريبية.

 

 

 

Jo Academy Logo